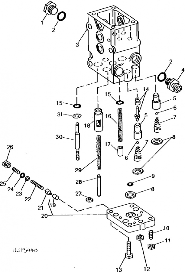
Catálogo JOHN DEERE CAJA,TRANSMISION, DIFERENCIAL RESORTE FIG. 7

R26565

RESORTE FIG. 7

APLICACIONES
JOHN DEERE
 
Cantidad
  • Código
    R26565
  • Categoría
    JOHN DEERE
  • Marca
    GEPSA PARTS

Productos relacionados