Catálogo JOHN DEERE MOTOR VARILLA EMPUJE FIG. 9

R83429

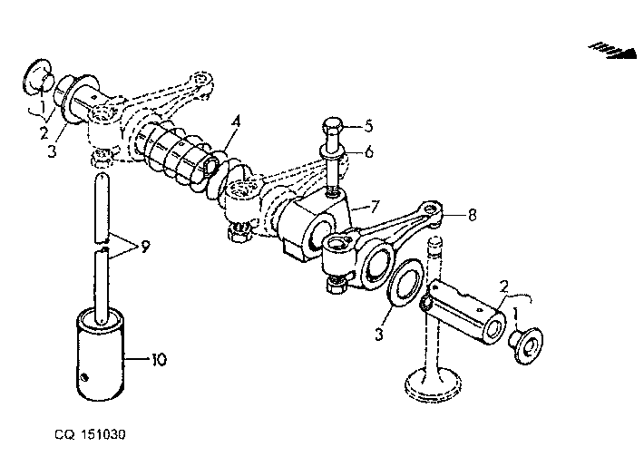
VARILLA EMPUJE FIG. 9

APLICACIONES
JOHN DEERE
 
Cantidad
  • Código
    R83429
  • Categoría
    JOHN DEERE
  • Marca
    GEPSA PARTS

Productos relacionados