0
Te atendemos por whatsapp
Home
La Empresa
Productos
Garantía
Contacto
whatsapp
0
Home
La Empresa
Productos
Garantía
Contacto
Catálogo
JOHN DEERE
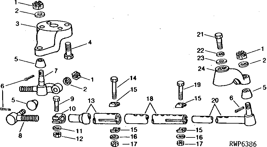
EJE DELANTERO, DIRECCION
TERMINAL DIRECCIÓN BARRA FIG. 20
AR51584
TERMINAL DIRECCIÓN BARRA FIG. 20
APLICACIONES
JOHN DEERE.
3010, 4010, 3020, 4020, 2510, 3020, 4000, 4020, 2520, 4320, 4230,
Cantidad
Solicitar presupuesto
binocolo
red dot sight
Código
AR51584
Categoría
JOHN DEERE
Marca
GEPSA PARTS
Productos relacionados
JGO. DE ANILLOS STD.
RE533955
MOTOR DE ARRANQUE
RE529593
KIT EMPACADURAS SUPERIOR
RE524092
CAMISA D. 106mm.
R116281