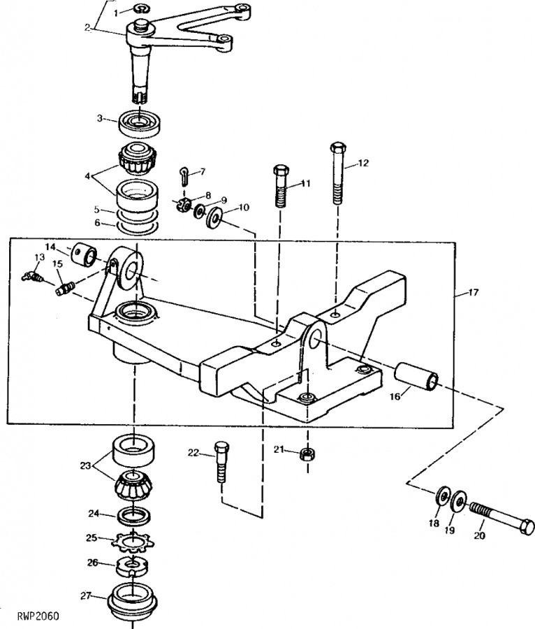
Catálogo JOHN DEERE CAJA,TRANSMISION, DIFERENCIAL ARANDELA FIG. 9

T10510

ARANDELA FIG. 9

APLICACIONES
APLICACIONES
Cantidad
  • Código
    T10510
  • Categoría
    JOHN DEERE
  • Marca
    GEPSA PARTS

Productos relacionados