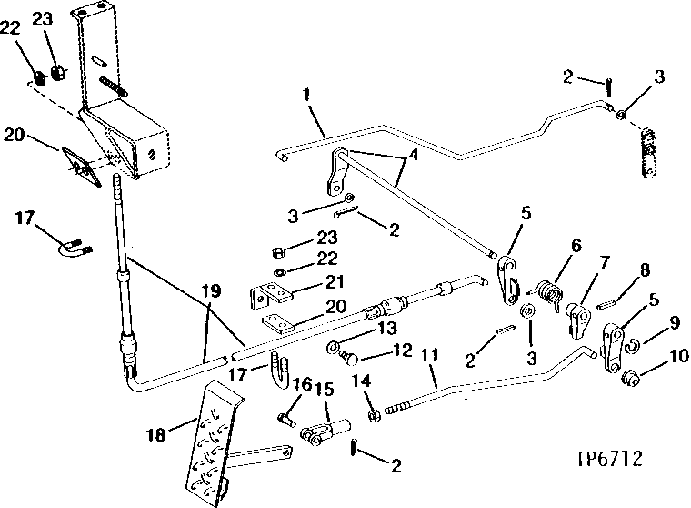
Catálogo JOHN DEERE CAJA,TRANSMISION, DIFERENCIAL GUAYA DEL ACELERADOR FIGURA 19

AT33243

GUAYA DEL ACELERADOR FIGURA 19

APLICACIONES
JOHN DEERE
310A, 310B, 
Cantidad
  • Código
    AT33243
  • Categoría
    JOHN DEERE
  • Marca
    GEPSA PARTS

Productos relacionados