0
Te atendemos por whatsapp
Home
La Empresa
Productos
Garantía
Contacto
whatsapp
0
Home
La Empresa
Productos
Garantía
Contacto
Catálogo
JOHN DEERE
CAJA,TRANSMISION, DIFERENCIAL
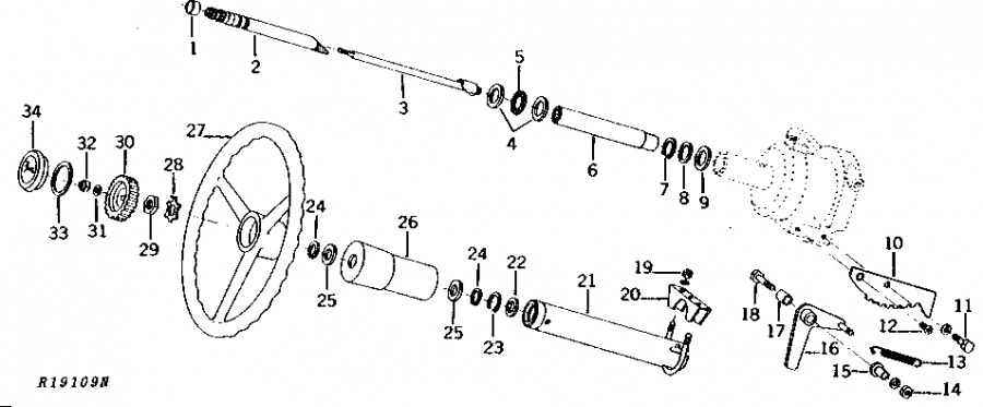
ARANDELA COLUMNA DE DIRECCION FIGURA 25
R42629
ARANDELA COLUMNA DE DIRECCION FIGURA 25
APLICACIONES
JOHN DEERE
4040, 4240, 4440, 1640, 2040, 2040S, 2140, 2350, 2550, 2355, 2555, 2450, 2650, 2850, 2750, 3020, 3040, 3140, 3055. 3150,
Cantidad
Solicitar presupuesto
binocolo
red dot sight
Código
R42629
Categoría
JOHN DEERE
Marca
GEPSA PARTS
Productos relacionados
MOTOR ELECTRICO ACELERADOR PARA EXCAVADORA
AT154932
SET COJINETES BANCADA 0.552mm. .022"
RE504197
SEGUROS DE VALVULAS MEDIOS CONOS
RE502371
83927817 SELLO FIG. 8
U13639